subscribe

New Technology for Ultra-smooth Polymer Films from Fraunhofer

The Fraunhofer Institute for Organic Electronics, Electron Beam and Plasma Technology FEP from Germany has said that as part of the EU-funded ‘OptiPerm’ project that it has developed a new technology for creating ultra-smooth surfaces on metal and plastic films that can be used for applications such as touch displays or OLEDs. The technology, which … Read more

Report: Analogue-to-Digital Switchover in Germany “Is Progressing”

The analogue cable network shutdown in Germany is progressing, according to GfU. The shutdown moves into its next phase after the World Cup concludes in mid-July. Following pilot projects that took place in the spring, many cable network operators will make the complete switch to digital signal transmission in the summer. Viewers will be informed … Read more

Optoma Chosen for Floor Projection Advertising in Netherlands Supermarket

A Spar supermarket in the Netherlands wanted a new solution for attracting customers to specific brands in store. Windo Displays, a specialist in floor advertising, selected Optoma’s lamp-free LED ML750e projector. Windo’s FloorCaster Pro system incorporates the ML750e to project brand messages and advertisements on the floor of the supermarket. The project required a compact … Read more

MicroLED Displays: Even More than They Seem

It has taken me a while to appreciate that microLEDs have the potential to be much more than a brighter, less expensive, and more energy-efficient display technology. But I need to provide some background before I can justify that statement. To start, microLEDs (or µLEDs or microILEDs) are smaller, sometimes much smaller, versions of the … Read more

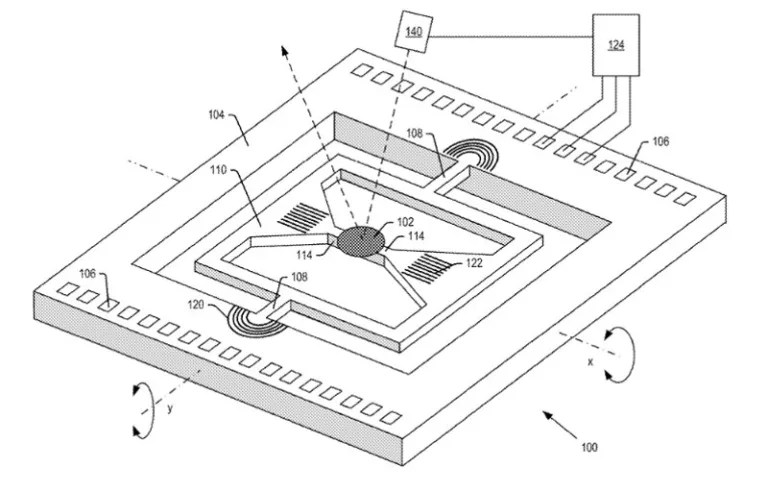
Microsoft Filed a Patent for Technology to Widen HoloLens FOV

It has come to light that Microsoft filed a patent back in December 2016 for technology to widen the field of view (FOV) of its HoloLens augmented reality headset. The documentation details a microelectromechanical laser scanner capable of generating light in two directions on a display and increasing the field of view from 35° to … Read more

Kayak Launches Prototype VR Travel App for Google Daydream

Travel website, Kayak, has launched a free prototype virtual reality app that allows its customers to visit potential holiday destinations before they book via a VR headset. At the moment, the app only supports Google Daydream hardware. Users can visit either Venice or Kathmandu via a collection of 360° virtual scenes, though the company has … Read more

Yole Thinks VR, AR and MR Technology Will Take a While

Big companies, small and experienced companies, or even newcomers are part of today’s playground and many are trying to play their cards right, according to a new report from Yole. Today, VR and mostly AR are the key to unlock the next generation of consumer products. Dr. Zine Bouhamri, a technology and market analyst at … Read more

Dell Going Public Again

Dell

Dell has announced that it is planning to relist as a public company, with VMWare remaining an independent public company. The boards of Dell and VMWare have both agreed to the transaction and Michael Dell is expected to retain majority ownership. Analyst Comment This will give the Silver Lake private equity business to sell its … Read more

CineEurope 2018 Roundup

Christie believes that the future is pure laser and, in contrast to Cinionic and Sony has decided not to offer Laser Phosphor in the cinema market. The company told us that pricing is at a premium to Xenon, but not on a different scale, it’s a bit like the situation, we heard, when Xenon lamp … Read more

Cinionic Explains Move to L/P for Premium Small Format

Cinionic is the company that has been established by Barco, Appotronic and others (Barco/Appotronics J/V Has a New Name) to develop the cinema business. Cinionic also didn’t show the new technology for projection Project 2020 that it showed at the US event and that Chris was impressed by. Cinionic did have a booth and a … Read more

CineEurope 2018 – Too Close to Cinemacon

We went for a very quick visit to CineEurope in Barcelona – it turned out that, like the recent AWE event, the show didn’t start until 11.00 am! However, we got around the small show, just, in the few hours we had before our plane home. Exhibitors were grumbling that Cinemacon and CineEurope were too … Read more